Todos nós sabemos que os serviços de jogos em nuvem serão uma revolução no mercado, pois mesmo que o usuário não tenha um console de última geração, tendo uma conexão com a internet, poderá jogar os novos lançamentos. Várias empresas já lançaram seus serviços de streaming de jogos, como a Sony e seu PS Now.
Recentemente, um usuário no Twitter, o @Zuby_Tech, famoso por estar sempre divulgando novidades para o mercado de jogos, comentou sobre um registro de uma patente realizada pela dona do PlayStation com foco em melhorar o serviço de streaming; confira o post realizado por este:

De acordo com os registros das patentes, os serviços de streaming por parte da Sony terão um incremento no poder de processamento, a fim de evitar problemas na transmissão. Em uma parte, a comunicação com a CPU (Unidade de Processamento Central) iria aumentar tanto a velocidade quanto o desempenho – onde já deixaria alguns elementos e comandos pré-carregados.
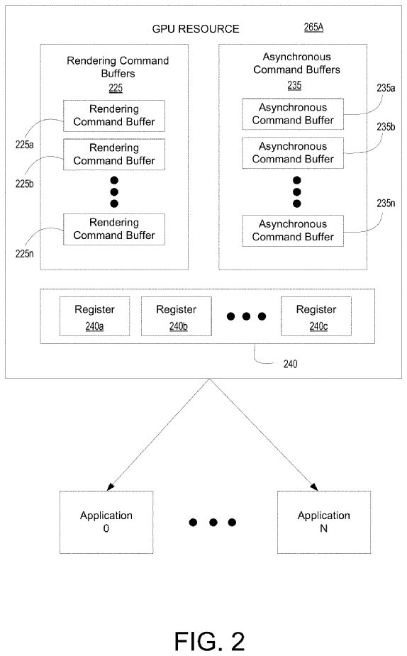
Na parte de GPU, o esquema se baseia no mesmo princípio da patente da CPU – onde o trabalho desta iria mudar um pouco, pré-alocando alguns elementos – e cada elemento receberia uma fração de tempo a fim de favorecer o tempo de processamento para o serviço – aumentando a taxa de quadros renderizados por meio de carregamentos de buffer.
Confira as imagens desta patente registrada pela Sony, começando pela CPU:
Veja o da GPU:
Confira também: GTA 6 | Rockstar Games concebe grande easter egg no mundo real para promover jogo
Enfim, gosta do Portal Viciados? Contamos contigo! Siga-nos no Google Notícias. Clique aqui e depois em Seguir. Também faça parte da discussão no Facebook e no Twitter.
Fonte: Twitter



